POSITION TRANSDUCER
 
RATINGS
KTF Series
100
150
225
300
375
Total Electrial Travel (T.E.)
mm
(inch)
102
(4.02)
152
(5.98)
229
(9.02)
305
(12.01)
381
(15.00)
Active Electrial Travel(A.E.)
mm
(inch)
100
(3.94)
150
(5.91)
226
(8.90)
302
(11.89)
378
(14.88)
Resistance 20%
3.4
5.0
2.4
3.2
4.0
Independent Lineerity
0.07
0.07

0.07

0.07
0.07
Mechanical Travel(M.T.)
mm
(inch)
104
(4.09)
155
(6.10)
231
(8.09)
307
(12.09)
384
(15.12)
Resolution
infinite
Recommended Cursor Current
< 1
Temperature Range
*C
-55 ~ +125
Dimensions A
mm
(inch)
245
(9.65)
296
(11.65)
372
(14.65)
448
(17.64)
525
(20.67)
 
KTF Series
450
525
600
750
900
1000
Total Electrial Travel (T.E.)
mm
(inch)
457
(17.99)
533
(20.98)
610
(24.02)
762
(30.00)
914
(35.98)
1016
(40.00)
Active Electrial Travel(A.E.)
mm
(inch)
455
(17.91)
531
(20.91)
607
(23.90)
759
(29.88)
912
(35.43)
1013
(39.88)
Resistance 20%
4.8
5.6
6.4
8.0
9.6
10.7
Independent Lineerity
0.05
0.05

0.05

0.05
0.05
0.05
Mechanical Travel(M.T.)
mm
(inch)
460
(18.11)
536
(21.10)
612 (24.09)
765
(30.12)
917
(36.10)
1019 (40.12)
Resolution
 
infinite
Recommended Cursor Current
< 1
Temperature Range
*C
-55 ~ +125
Dimensions A
mm
(inch)
601
(23.66)
677
(26.65)
753 (29.65)
906
(35.67)
1058
(41.65)
1160
(45.67)
 
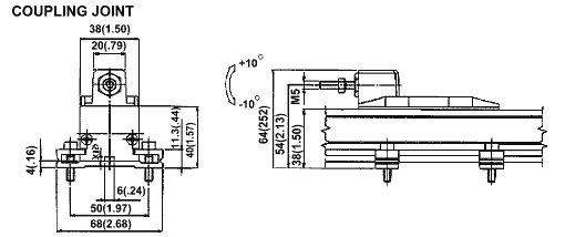
DIMENSIONS